Küresel Broker Düzenleme Sorgulama Uygulaması
WikiFX
Broker Arama
Türkçe

简体中文

繁體中文

English

Pусский

日本語

ภาษาไทย

Tiếng Việt

Bahasa Indonesia

Español

हिन्दी

Filippiiniläinen

Français

Deutsch

Português

Türkçe

한국어

العربية

Download

Platform otomatik olarak parayı çekecektir.

达文西I
1 yıl içinde
Doğrulanmamış

Teşhir

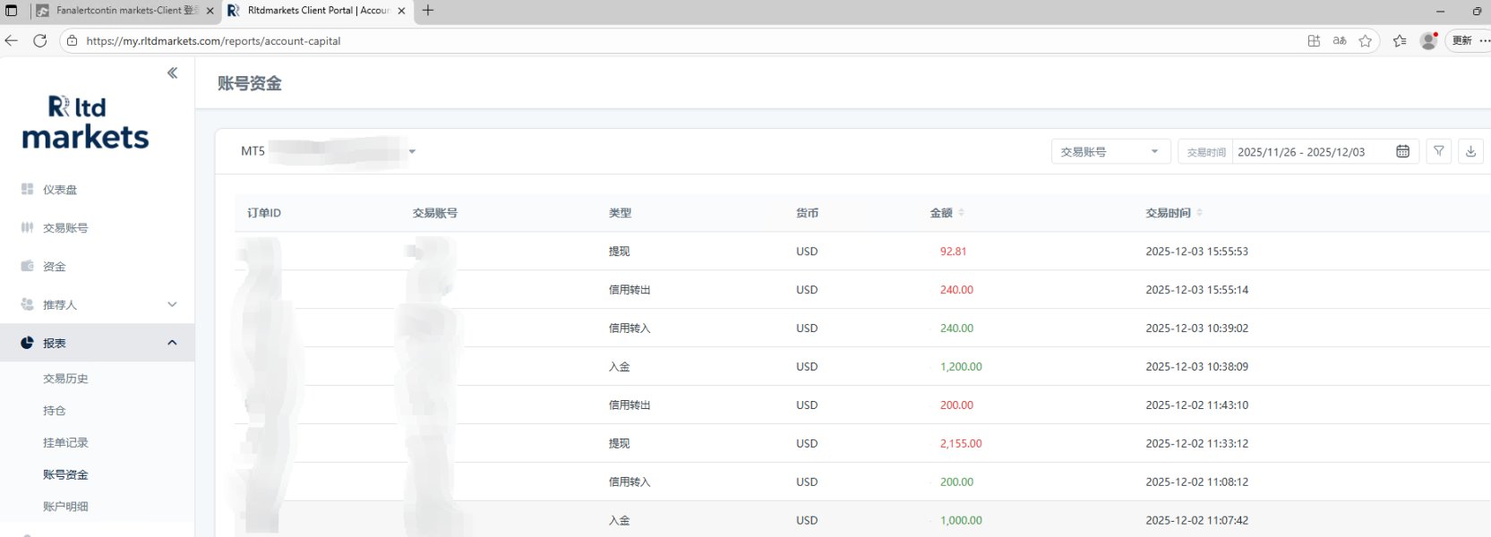
Elde tutma oranı yüksek kalmaya devam ediyor, ancak platform fonları dışarı aktarıyor ve bu da hesapların tasfiye edilmesine neden oluyor. Bu durum kayıplara yol açıyor. Diyagramda gösterilen kesilen tutarlar ve çekme emirleri tamamen platformun kendi işlemleridir.

Özgün

平台会自动扣钱,

维持率还有很多,平台转走钱,让账户爆仓。导致亏损。图中的扣除金额和提现订单,就是平台自己操作的。

2025-12-03

Hong Kong

Para çekilemiyor

Haftanın En Çok Yorumu

  • FXNX

  • RYOEX

  • Gold Fun Corporation Ltd

  • BLUE WHALE MARKETS

    4
  • Invidiatrade

    5
  • IQease

    6
  • MY MAA MARKETS

    7
  • Dotbig

    8
  • SIFX

    9
  • Fintrix Markets

    10

Daha fazla görüntülemek için

WikiFX uygulamasını indirin

Ülke/İlçe Seç
United States
※ WikiFX, verileri kamuya açık kaynaklardan ve kullanıcı katkılarından derler. Doğruluğunu korumak için çaba göstersek de, güncelliğini yitirebileceği için bilgilerin eksiksizliğini, doğruluğunu veya güncelliğini garanti etmiyoruz. Yatırımcıların herhangi bir karar vermeden önce önemli bilgileri resmi kaynaklarla doğrulamaları şiddetle tavsiye edilir.
You are visiting the WikiFX website. WikiFX Internet and its mobile products are an enterprise information searching tool for global users. When using WikiFX products, users should consciously abide by the relevant laws and regulations of the country and region where they are located.
consumer hotline:006531290538
Official Email:support@wikifx.com;
Mobile Phone Number:234 706 777 7762;61 449895363
Telegram:+60 103342306
Whatsapp:+852-6613 1970;
License or other information error corrections, please send the information to:qa@wikifx.com
Cooperation:business@wikifx.com